Last modified Wednesday, October 3, 2007 10:54 pm

Patents for Weaving, Textiles, and Related Topics

Dates in bold red identify documents added in the current month.


Looms, general and miscellaneous

Adjustable Loom, US03996969, McCullough, George W., et al, December 17, 1976, 10 pages. Posted October 8, 2002. CD (HWDA10). SAMPLE PAGE. File size 808 KB PDF


Apparatus for Fabricating Three-Dimensional Fabric, US03955602, King, Robert W., May 11, 1976, 16 pages. Posted March 2, 2003. CD (HWDA10). SAMPLE PAGE. File size 1 MB PDF


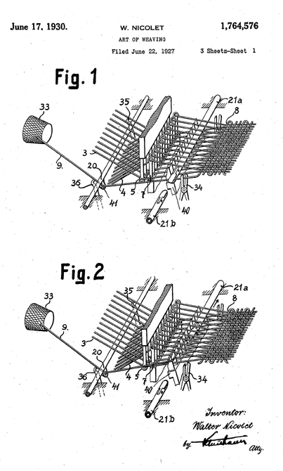
Art of Weaving, US01764576, Nicolet,W., June 17, 1930, 7 pages. Posted October 30, 2002. CD (HWDA10). SAMPLE PAGE. File size 944 KB PDF


Bead Loom, US00760919, Poole, F. C., May 24, 1904, 3 pages. Posted October 8, 2002. CD (HWDA10). SAMPLE PAGE. File size 632 KB PDF


Electric Loom, US00012050, Bonelli, G., December 12, 1854, 11 pages. Posted January 2, 2004. CD (HWDA10). SAMPLE PAGE. File size 1.3 MB PDF


Electrically Driven Loom, US01782945, Stone, E. A., et al, November 25, 1930, 9 pages. Posted October 30, 2002. CD (HWDA10). SAMPLE PAGE. File size 2.5 MB PDF


Fachbildungsstange für Handwebvorrichtungen [Shedding bar for Hand Weaving Devices], DE419273A , Daugart, Fransiska, August 21, 1924, 2 pages. Note: PDF provided by Lora Burgess. Posted June 3, 2006. SAMPLE PAGE. File size 77 KB PDF


Fachbildungsvorrichtung für Handwebapparate [Shedding Device for Handweaving Apparatus], DE350034A , Witts, Gertrud, September 18, 1919, Note: PDF provided by Lora Burgess. Posted June 3, 2006. SAMPLE PAGE. File size 154 KB PDF


Fachbildungsvorrichtung für Webepparate und Webapparate [Shedding Device for Weaving Apparatus and Looms], DE445021A , Witte, Gertrud, November 7, 1925, 2 pages. Note: PDF provided by Lora Burgess. Posted June 20, 2006. SAMPLE PAGE. File size 70 KB PDF


Gauze Loom, US00680502, Robinson, T. A., August 13, 1901, 5 pages. Posted January 17, 2005. SAMPLE PAGE. File size 700 KB PDF


Hand Loom, US02607979, Throop, W. G., April 1, 1950, 3 pages. Posted October 30, 2002. CD (HWDA10). SAMPLE PAGE. File size 612 KB PDF


Hand Loom, US0396281, Kynett W. H., January 15, 1899, 3 pages. Note: PDF provided by Lora Burgress. Posted May 21, 2006. SAMPLE PAGE. File size 184 KB PDF


Hand Loom, USX0002848, Cummings, B., October 3, 1817, 2 pages. Posted June 28, 2003. CD (HWDA10). SAMPLE PAGE. File size 456 KB PDF


Hand Looms, US02707316, Doniger, S., May 3, 1955, 3 pages. Posted October 30, 2002. CD (HWDA10). SAMPLE PAGE. File size 616 KB PDF


Handwebstuhl [Handweaving Loom], DE342088A , Lane, William, August 25, 1980, 4 pages. Note: PDF provided by Lora Burgess. Posted June 3, 2006. SAMPLE PAGE. File size 189 KB PDF


Handwebstuhl [Handweaving Loom], DE461982A , van Haver, P. B., July 13, 1928, 3 pages. Note: PDF provided by Lora Burgess. Posted June 3, 2006. SAMPLE PAGE. File size 102 KB PDF


Handwebvorrichtung [Handweaving Device], DE312851A, Struve, Ellen, June 17, 1919, 3 pages. Note: PDF provided by Lora Burgess. Posted June 3, 2006. SAMPLE PAGE. File size 99 KB PDF


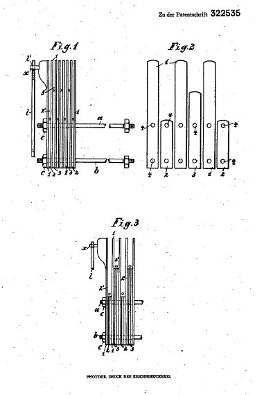
Handwebvorrichtung [Handweaving Device], DE322535A , Struve, Ellen, July 2, 1929, 3 pages. Note: PDF provided by Lora Burgess. Posted June 3, 2006. SAMPLE PAGE. File size 63 KB PDF


Improvements in or Relating to Looms, AU440745B , Somet, S., June 11, 1979, 9 pages. Note: PDF provided by Lora Burgess. Posted June 3, 2006. SAMPLE PAGE. File size 274 KB PDF


Loom, US00000047, Kile, C., October 11, 1836, 2 pages. Note: Probably first loom patent granted by the U.S. under the present patent system (records of patents 22, 28, and 44 are lost). Posted November 18, 2002. CD (HWDA10). SAMPLE PAGE. File size 540 KB PDF


Loom, US00000169, Bigelow, E. B., April 20, 1837, 10 pages. Posted January 18, 2004. CD (HWDA10). SAMPLE PAGE. File size 1.3 MB PDF


Loom, US00001964, Calderhead, A., February 3, 1841, 4 pages. Posted November 3, 2004. CD (HWDA11). SAMPLE PAGE. File size 648 KB PDF


Loom, US00002486, Gilroy, C. G., March 12, 1842, 5 pages. Posted June 29, 2003. CD (HWDA10). SAMPLE PAGE. File size 848 KB PDF


Loom, US00003047, Gilroy, C. G., April 15, 1843, 11 pages. Posted July 19, 2003. CD (HWDA10). SAMPLE PAGE. File size 980 KB PDF


Loom, US00089011, Bigelow, E. B., April 20, 1869, 9 pages. Posted January 2, 2004. CD (HWDA10). SAMPLE PAGE. File size 888 KB PDF


Loom, US00179334, Miller, A. H., June 27, 1876 4, 4 pages. Posted June 27, 2003. CD (HWDA10). SAMPLE PAGE. File size 576 KB PDF


Loom, US00714909, Hutchins, G. F. and E. H. Ryon, December 2, 1902, 15 pages. Posted January 18, 2005. SAMPLE PAGE. File size 1.8 MB PDF


Loom, US01752804, Nicolet, W., April 30, 1930, 9 pages. Posted May 24, 2003. CD (HWDA10). SAMPLE PAGE. File size 848 KB PDF


Loom, US02244085, Schneidewendt, A. T., June 3, 1941, 3 pages. Posted October 8, 2002. CD (HWDA10). SAMPLE PAGE. File size 620 KB PDF


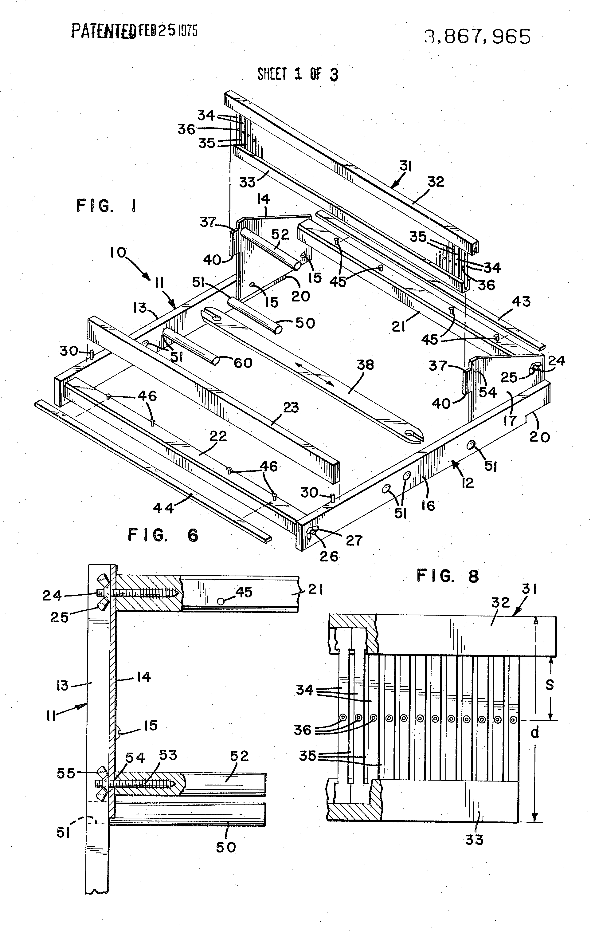
Loom, US03867965, Hanson, James E., February 25, 1975, 6 pages. Posted October 8, 2002. CD (HWDA10). SAMPLE PAGE. File size 824KB PDF


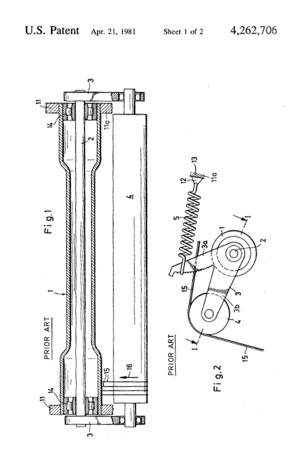
Loom, US04262706, Popp, Karl and Heinz Schaub, April 21, 1981, 7 pages. Posted September 20, 2002. CD (HWDA10). SAMPLE PAGE. File size 264 KB PDF


Loom, USD0234327 , Rodwell, Marriane S., April 9, 1973, 1 page. Posted June 29, 2003. CD (HWDA10). SAMPLE PAGE. File size 432 KB PDF


Loom, USUS1176823, Elsaser, B., March 28, 1916, 5 pages. Note: PDF supplied by Lora Burgess. Posted June 19, 2006. SAMPLE PAGE. File size 465 KB PDF


Loom, USX0001391, Curtis, P. C., November 17, 1810, 5 pages. Posted June 28, 2003. CD (HWDA10). SAMPLE PAGE. File size 1 MB PDF


Loom, USX0001693, Thorp. J., March 28, 1812, 7 pages. Posted June 28, 2003. CD (HWDA10). SAMPLE PAGE. File size 1.1 MB PDF


Loom, USX0008529, Brooks E., December 17, 1834, 2 pages. Note: PDF provided by Lora Burgress. Posted May 26, 2006. SAMPLE PAGE. File size 56 KB PDF


Loom, USX0008964, Burr, O. C., July 17, 1835, 4 pages. Note: PDF provided by Lora Burgress. Posted May 26, 2006. SAMPLE PAGE. File size 1.6 MB PDF


Loom for Cross Weaving, US00386477, Littlefield, C. A., July 24, 1888, 8 pages. Posted June 27, 2003. CD (HWDA10). SAMPLE PAGE. File size 812 KB PDF


Loom for Cross Weaving, US00788328, Pettie, G. H. L., April 25, 1905, 2 pages. Posted January 18, 2005. SAMPLE PAGE. File size 464 KB PDF


Loom for the Manufacture of Terry Fabrics, US01776759, Hrdina, R., September 23, 1930, 3 pages. Posted October 30, 2002. CD (HWDA10). SAMPLE PAGE. File size 608 KB PDF


Loom for Weaving, US01316159, Jackson, T. T., September 16, 1919, 2 pages. Posted September 20, 2002. CD (HWDA10). SAMPLE PAGE. File size 96 KB PDF


Loom for Weaving Cane, US00550068, Crompton, C., November 19, 1895, 21 pages. Posted August 20, 2002. CD (HWDA10). SAMPLE PAGE. File size 1.7 MB PDF


Looms, US01772080, Harris, A. J., August 5, 1930, 4 pages. Posted October 30, 2002. CD (HWDA10). SAMPLE PAGE. File size 608 KB PDF


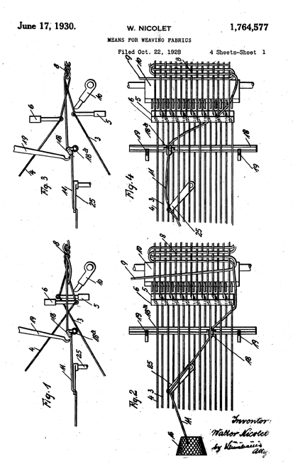
Means for Weaving Fabrics, US01764577, Nicolet, W., June 17, 1930, 4 pages. Posted October 30, 2002. CD (HWDA10). SAMPLE PAGE. File size 532 KB PDF


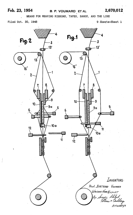
Means for Weaving Ribbons, Tapes, Bands, and the Like, US02670012, Voumard, B. P.,et al, February 23, 1954, 13 pages. Posted May 24, 2003. CD (HWDA10). SAMPLE PAGE. File size 1 MB PDF


Method for Making Saki-Ori, JP20043232161, Matsuura Yoshmi, August 19, 2004, 7 pages. Posted May 5, 2005. SAMPLE PAGE. File size 640 KB PDF


Portable Hand Loom, US02190813, Walker, K. E., February 20, 1940, 4 pages. Posted October 8, 2002. CD (HWDA10). SAMPLE PAGE. File size 764 KB PDF


Portable Looms, US06065504, Sidore, Micala, May 23, 2000, 16 pages. Posted October 8, 2002. CD (HWDA10). SAMPLE PAGE. File size 748 KB PDF


Power Loom, US00089694, Skinner, H., May 4, 1869, 4 pages. Posted January 2, 2004. CD (HWDA10). SAMPLE PAGE. File size 744 KB PDF


Power Loom, US00097106, Murkland, W. and J. W., November 23, 1869, 7 pages. Posted September 12, 2004. CD (HWDA10). SAMPLE PAGE. File size 888 KB PDF


Procédé de Realisation d'un Tissu Chainé et Tramé et Machine à Tisser Permettant sa mise en Oeuvre [The Process of Making a Warped Chain (and the Loom which makes it possible to set up)], FR2830540, Goldetto, Paul, April 11, 2003, 4 pages. Posted March 6, 2005. SAMPLE PAGE. File size 508 KB PDF


Rapier Looms , US04100941, Ainsworth, David, et al, July 18, 1978 , 10 pages. Posted September 20, 2002. CD (HWDA10). SAMPLE PAGE. File size 380 KB PDF


Shedding Loom, US00002528, White, R., April 1, 1842, 2 pages. Posted June 27, 2003. CD (HWDA10). SAMPLE PAGE. File size 480 KB PDF


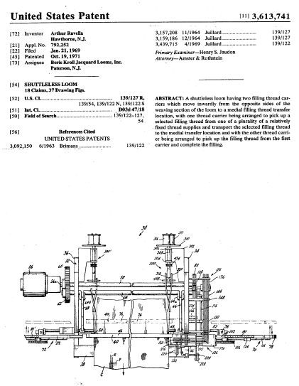
Shuttleless Loom, US03613741, Ravella, Arthur, October 19, 1971, 23 pages. Posted September 20, 2002. CD (HWDA10). SAMPLE PAGE. File size 1.7 MB PDF


Vorrichtung für Handwebstühle zum Fachbilden undAnschlagen des Schussfadens mittels eines Fachbildungsblattes [Handloom Device for Opening the Shed and Beating the Weft by Means of a Shedding Reed], DE191713, The Linen Thread Co., Ltd. in Glasgow, July 6, 1906, 8 pages. Note: PDF provided by Lora Burgress. Posted May 22, 2006. SAMPLE PAGE. File size 828 KB PDF


Water Jet Loom, US04194540, Reynolds, James R., March 25, 1980, 10 pages. Posted March 2, 2003. CD (HWDA10). SAMPLE PAGE. File size 796 KB PDF


Weaving Looms, US04143685, Templer, Stephen and Paton, Anthony D., March 13, 1979 , 15 pages. Posted September 20, 2002. CD (HWDA10). SAMPLE PAGE. File size 260 KB PDF


Weaving Machine, US02454146, Ezbelent, G. E., November 16, 1948, 4 pages. Posted October 8, 2002. CD (HWDA10). SAMPLE PAGE. File size 1.9 MB PDF


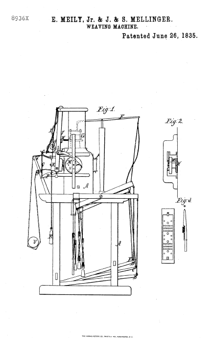
Weaving Machine, USX0008936, Meily, E. and J. & S. Mellinger, June 26, 1835, 2 pages. Posted June 29, 2003. CD (HWDA10). SAMPLE PAGE. File size 436 KB PDF


Weaving Process and Loom Therefor, US01418239, Crespi, S. B., May 30, 1922, 6 pages. Posted October 30, 2002. CD (HWDA10). SAMPLE PAGE. File size 832 KB PDF


Please report any problems to: weaving@cs.arizona.edu

home