Last modified Wednesday, October 3, 2007 10:54 pm

Patents for Weaving, Textiles, and Related Topics

Dates in bold red identify documents added in the current month.


Loom mechanisms

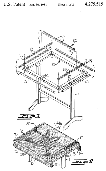
Apparatus for Making a Handcrafted Pile Rug, US04275515, Hinson, Betty R., June 30, 1981, 16 pages. Posted March 2, 2003. CD (HWDA10). SAMPLE PAGE. File size 1.1 MB PDF


Apparatus for Use in a Weaving Process, US04195671, Bossut, Achille, April 1, 1980, 21 pages. Posted March 2, 2003. CD (HWDA10). SAMPLE PAGE. File size 1.1 MB PDF


Device to Reverse the Rotation of Coupled Shafts, US01954890, Rembert, et al, April 17, 1934, 5 pages. Posted September 20, 2002. CD (HWDA10). SAMPLE PAGE. File size 336 KB PDF


Divided Loom reed, US01067619, Moriggl, C., July 13, 1913020 Loom mechanisms, 3 pages. Posted May 24, 2003. CD (HWDA10). SAMPLE PAGE. File size 584 KB PDF


Düsenwebmaschine, EP1508633A1, Urs, Schaich, et al, February 23, 2005, 1 page. Posted May 18, 2005. SAMPLE PAGE. File size 48 KB PDF


Electronic Control Apparatus for a Textile Machine , US06269282, Burger, Wilhelm and Hans-Joachim Stuewe , July 31, 2001 , 27 pages. Posted September 20, 2002. CD (HWDA10). SAMPLE PAGE. File size 1.1 MB PDF


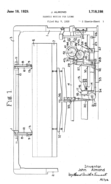
Harness Motion for Looms, US01718198, Almond, J., May 9, 1928, 6 pages. Posted September 20, 2002. CD (HWDA10). SAMPLE PAGE. File size 492 KB PDF


Let-Off Mechanism, US01463966, Northrop, J., August 7, 1923, 6 pages. Posted September 20, 2002. CD (HWDA10). SAMPLE PAGE. File size 604 KB PDF


Loom Reed, US00759317, Saurer, A., May 10, 1904, 4 pages. Posted May 24, 2003. CD (HWDA10). SAMPLE PAGE. File size 592 KB PDF


Loom Reversing Means, US03318341, Nollet, G., July 28, 1965, 7 pages. Posted September 20, 2002. CD (HWDA10). SAMPLE PAGE. File size 616 KB PDF


Loom Temple, USX0003739, Bazin, J. Jr., August 8, 1823, 2 pages. Posted June 29, 2003. CD (HWDA10). SAMPLE PAGE. File size 684 KB PDF


Loop Picker , US04130142, Tell, Mayo B., December 19, 1978, 10 pages. Posted September 20, 2002. CD (HWDA10). SAMPLE PAGE. File size 604 KB PDF


Loop Picker and Method of Making Same , US04279276, Hetz, G. Brian, July 21, 1981 , 12 pages. Posted September 20, 2002. CD (HWDA10). SAMPLE PAGE. File size 608 KB PDF


Pattern Control Mechanism, US01904006, Means, G. C., April 18, 1933, 15 pages. Posted September 20, 2002. CD (HWDA10). SAMPLE PAGE. File size 1 MB PDF


Positive Shedding Motion Device for a Circular Loom, US03961648, Torii, Soichi, June 8, 1976, 15 pages. Posted October 8, 2002. CD (HWDA10). SAMPLE PAGE. File size 948 KB PDF


Process and Device for Positioning Weaving Loom Warp Yarns , US06293315, Burger, Wilhelm and Hans-Joachim Stuewe , September 25, 2001, 16 pages. Posted September 20, 2002. CD (HWDA10). SAMPLE PAGE. File size 1.0 MB PDF


Process of Weaving, US01942152, Sauer, O., April 23, 1932, 5 pages. Posted February 9, 2005. SAMPLE PAGE. File size 808 KB PDF


Selvage Thread Feeding Means for Looms, US02703587, Allenson, G. T., March 8, 1955, 5 pages. Posted September 20, 2002. CD (HWDA10). SAMPLE PAGE. File size 508 KB PDF


Selvedging Mechanism for Circular Looms, US02080771, Hale, F. C., August 3, 1935, 5 pages. Posted October 8, 2002. CD (HWDA10). SAMPLE PAGE. File size 924 KB PDF


Shedding Mechanism for Looms, US00734834, Draper, C. H., July 28, 1902, 4 pages. Posted September 20, 2002. CD (HWDA10). SAMPLE PAGE. File size 408 KB PDF


Shedding Mechanisms, US03103953, Lauritsen, March 13, 1961, 7 pages. Posted September 20, 2002. CD (HWDA10). SAMPLE PAGE. File size 468 KB PDF


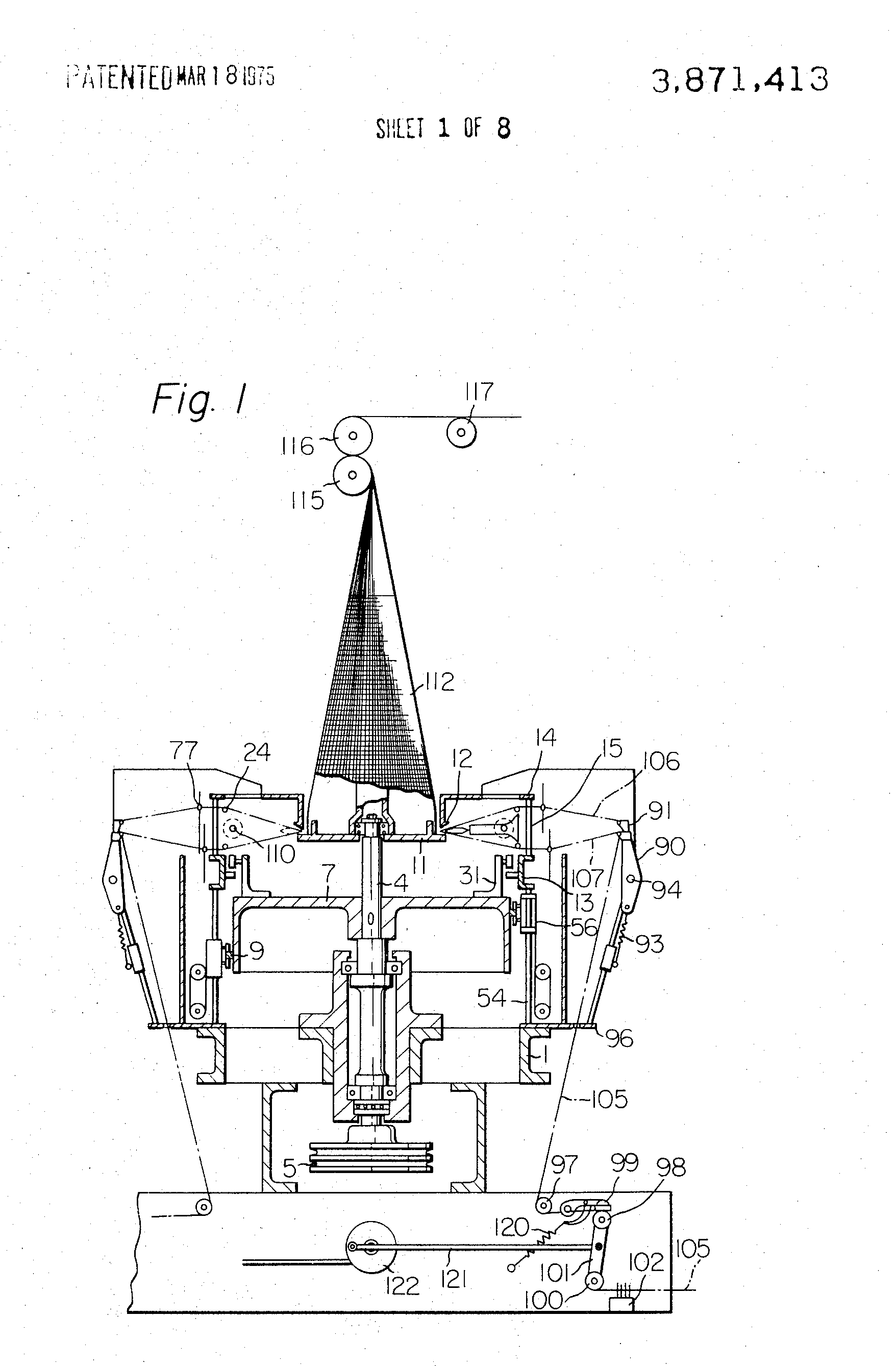
Shuttle Arrangement for a Circular Loom for a Tape Yarn, US03871413, Torii, Soichi, March 18, 1975, 16 pages. Posted October 8, 2002. CD (HWDA10). SAMPLE PAGE. File size 1.3 MB PDF


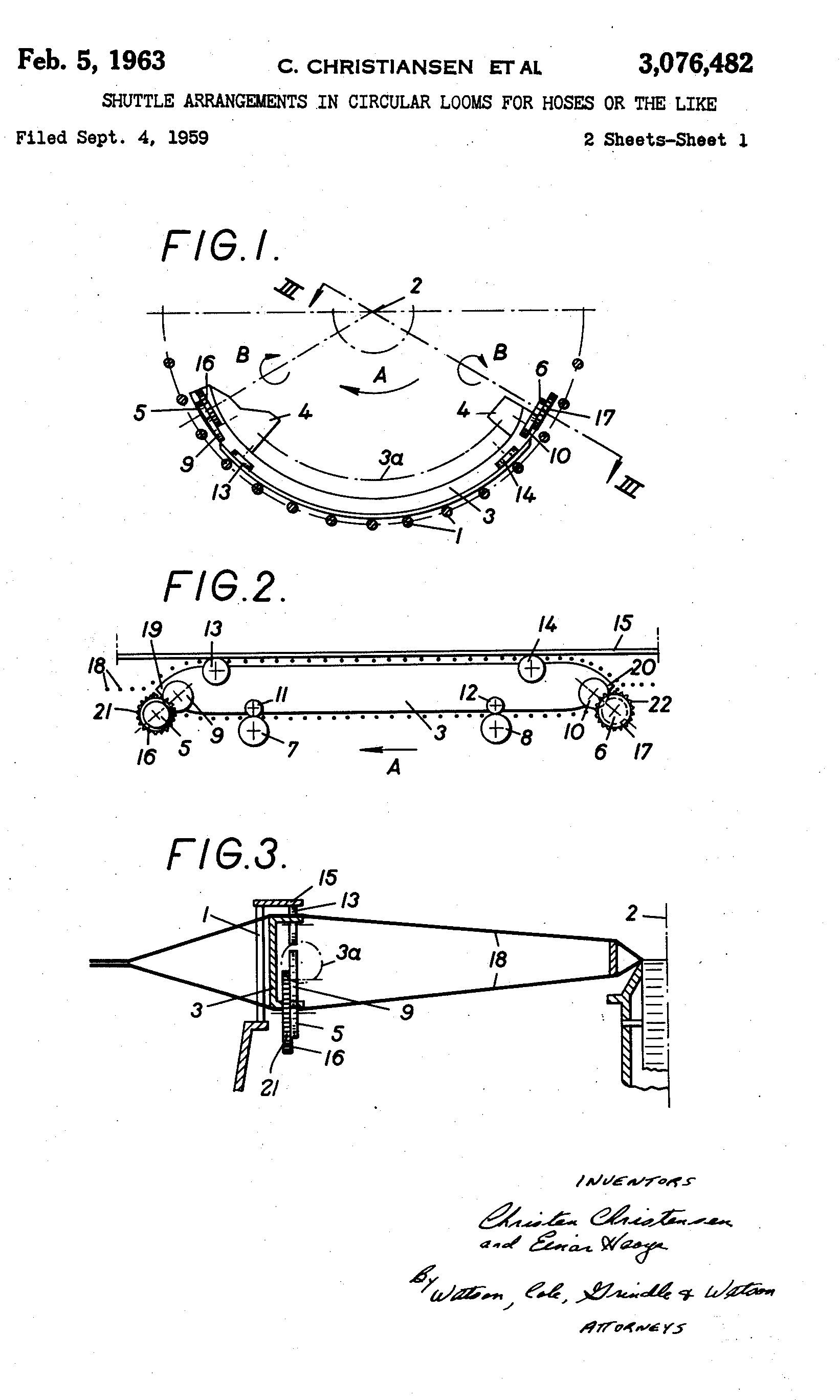
Shuttle Arrangements in Circular Looms for Hoses or the Like, US03076482, Christiansen, C., et al, February 5, 1963, 4 pages. Posted October 8, 2002. CD (HWDA10). SAMPLE PAGE. File size 664 KB PDF


Shuttle Box, US00062791, Weber, J. R., March 12, 1867, 4 pages. Posted January 2, 2004. CD (HWDA10). SAMPLE PAGE. File size 584 KB PDF


Shuttle Control Mechanism for Narrow ware Looms, US02490598, Gage, A. W., et al, December 6, 1949, 6 pages. Posted September 20, 2002. CD (HWDA10). SAMPLE PAGE. File size 580 KB PDF


Shuttle Motion, USX0004863, Goulding, J., August 24, 1827, 2 pages. Posted June 29, 2003. CD (HWDA10). SAMPLE PAGE. File size 424 MB PDF


Shuttle Utilized for a Circular Loom, US04365651, Torii, Soichi, December 28, 1982, 18 pages. Posted October 8, 2002. CD (HWDA10). SAMPLE PAGE. File size 1 MB PDF


Take-Up Motion, US00000030, Hendrick, H., September 22, 1836, 2 pages. Note: Probably first loom-related patent granted by the U.S. under the present patent system (records of patents 22 and 28 are lost). Posted November 18, 2002. CD (HWDA10). SAMPLE PAGE. File size 488 KB PDF


Temple for Weaving Cloth, US0000096 , Newell, P., December 2, 1826, 2 pages. Note: PDF provided by Lora Burgess. Posted August 4, 2006. SAMPLE PAGE. File size 144 KB PDF


Warp Stop Motion for Looms, US00637234, Coldwell, J. and C. G. Gildard, November 21, 1899, 7 pages. Posted October 8, 2002. CD (HWDA10). SAMPLE PAGE. File size 1 MB PDF


Warp Stop Motion Mechanism for Looms, US04848411, Nishiguchi, Narachiyo, July 18, 1989, 9 pages. Posted September 20, 2002. CD (HWDA10). SAMPLE PAGE. File size 352 KB PDF


Weft Insert Apparatus for Ribbon Looms, US04059133, Diesner, Ferdinand and Bucher, Robert, November 22, 1977, 9 pages. Posted September 20, 2002. CD (HWDA10). SAMPLE PAGE. File size 340 KB PDF


Please report any problems to: weaving@cs.arizona.edu

home